📞 1-877-761-2819Call Us Peruzzo Fox Cross Ditch Flail Mower | TMG Industrial CA Aller au contenu
Online Sales Support 7 Days A Week | Monday - Sunday: 7:00 AM - 8:00 PM EST
Online Sales Support 7 Days A Week | Monday - Sunday: 7:00 AM - 8:00 PM EST
CURRENTLY OUT OF STOCK
TMG-PE9487

Peruzzo 53" Rear Mounted Ditch Bank Flail Mower for 25 to 40 HP Tractors, Category 1 & 2, MFR #: Fox Cross 1400, Made in Italy TMG-PE9487

CURRENTLY OUT OF STOCK
SKU TMG-PE9487
Prix d'origine $0.00 CAD - Prix d'origine $0.00 CAD
Prix d'origine $0.00 CAD
MSRP: $9,299.00 CAD
$9,299.00 CAD - $9,299.00 CAD
Prix actuel $9,299.00 CAD
MSRP: $9,299.00 CAD

FREE

shipping to most locations in

Canada

Delivered in 10 to 15 business days Learn More
CALL TO ORDER 1-877-761-2819
Product Manual

Features

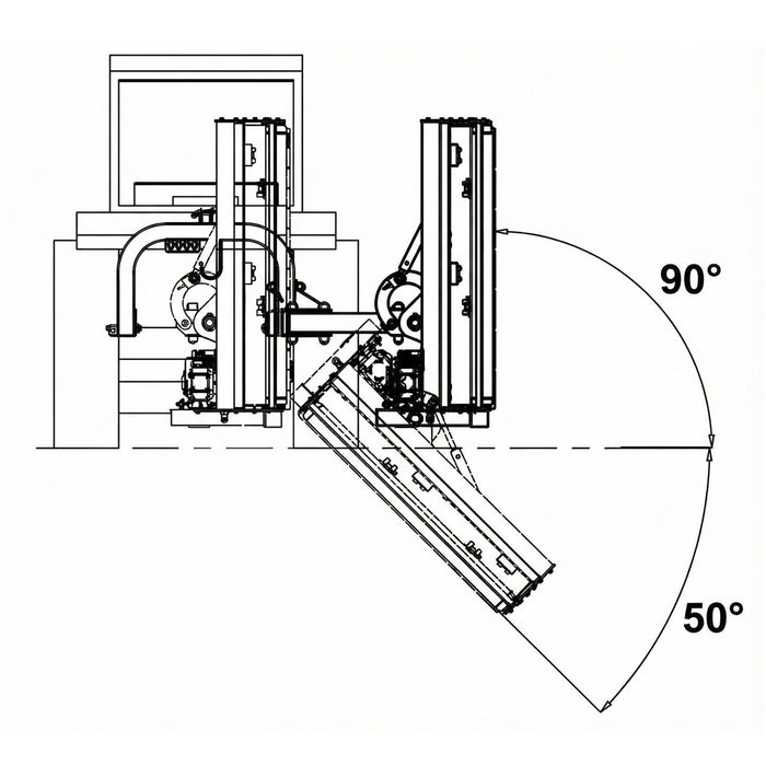
  • Heavy-duty hammers shred grass, branches, and bushes up to 4 cm in diameter
  • Hydraulic articulated arm extends up to 53” for precise lateral movement
  • Adjustable bending (+90° to -50°) enables cutting on slopes and hedges
  • Side skids and rear roller protect the frame and compact the ground
  • 3-point hitch with PTO overrun clutch prevents tractor transmission damage

Additional Upgrade Options:

  • Wide angle PTO shaft (Part #35705053): 540 RPM wide angle Cardan Shaft is recommended to use when working under +90 to -50 degrees for long distance (factory order).
Peruzzo 53

Specifications

 
Peruzzo 53

Shipping Information

The order will be shipped from one of our main warehouses in Canada. Under normal circumstances, it will take us 2 to 3 business days to process the order and ship it. It will take up to 10 to 15 business days for the order to get to you based on where you are located and how accessible the location is.

  • This product is packed in a metal crate shipping box
  • Shipping dimension: 66" x 34" x 42" (L x W x H)
  • Shipping weight: 690 lb
Shipping from Richmond, BC, or Mississauga, ON
What happens after you place your order?
Peruzzo 53

Product Description

The Peruzzo Fox Cross 1400 Ditch Bank Flail Mower is designed for demanding agricultural and municipal tasks. Suitable for 25 to 40 HP tractors, it features a heavy-duty hammer system, side skids for frame protection, and a rear roller for ground compaction. Built to handle grass, branches, and bushes up to 2” in diameter, it’s ideal for maintaining ditches, hedges, and slopes. 

It features a hydraulic articulated arm that provides wide lateral extension of up to 53” and adjustable bending from +90° to -50°. This allows for precise, efficient cutting even on steep terrain.

The Peruzzo Fox Cross 1400 comes with a 3-point hitch for Category 1-2 tractors, as well as a robust 540 RPM PTO shaft with an overrun clutch for optimal performance. This flail mower ensures durability and precision, making it the perfect choice for efficient land management.

Warranty

We know that when you invest in equipment, you're counting on it to perform day in and day out. At TMG Industrial, that trust means everything to us. That’s why we include a 1-year Warranty with every product we sell—because you deserve confidence with every purchase.

Our warranty is there to make sure your equipment stays reliable across the seasons, covering any issues caused by manufacturing defects in materials or workmanship. From fieldwork to property maintenance, you can count on your TMG equipment to deliver.

More than just warranty coverage, we’re committed to supporting you throughout the life of your machine. Our customer service team is here to help, whether you need technical advice, troubleshooting, or parts support.

For full warranty terms, please see our warranty policy
Back to Top
01
In-Store Pickup orders are ready by appointment only, 24 hours after payment has been received
02
Credit card owner must be on site with ID and credit card used to place the order
03
If the order is arranged for a third party pickup (a freight company, family members or friends), the order must be paid through EFT (electronic fund transfer).
CALL TO ORDER
Hours: Mon-Fri 9AM-4PM local time
In-Store Pickup orders must be picked up within 5 business days, after which the discount price is voided.

Warehouse Pick-up Price Promo



Only to in-person self-pickup at our Warehouses in Richmond, Montreal and Mississauga

This offer is not applicable with any other promotions or for online orders, and is limited to one item per person only.

Please note that prices are subject to change.
VIEW ALL DEALS
Hours: Mon-Fri 9AM-4PM local time